Chapter Contents

Previous

Next
SAS/ACCESS Interface to SYSTEM 2000 Data Management Software: Reference

SAS/ACCESS Descriptor Files

SAS/ACCESS descriptor files are the tools SAS/ACCESS software uses to establish a connection between the SAS System and SYSTEM 2000 software. To create these files, you use the ACCESS procedure.

There are two types of descriptor files: access descriptors and view descriptors.

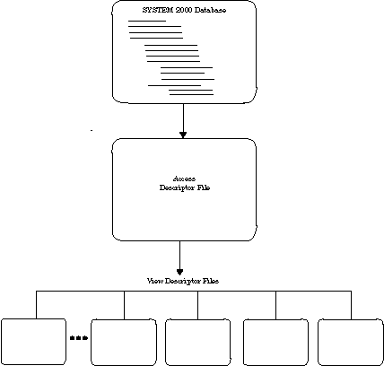
Relationships Among a SYSTEM 2000 Database, Access Descriptor Files, and View Descriptor Files illustrates the relationships among a SYSTEM 2000 database, access descriptors, and view descriptors.

Relationships Among a SYSTEM 2000 Database, Access Descriptor Files, and View Descriptor Files

[IMAGE]

The two types of descriptor files are discussed in the following sections. Defining SAS/ACCESS Descriptor Files explains how to create and edit these files.

Note that when you create or load data into a database, the DBLOAD procedure creates these descriptor files for you.


Access Descriptor Files

Access descriptor files have a member type of ACCESS. Each access descriptor holds essential information about one SYSTEM 2000 database that you want to access, for example, the database name, the item names, and item types. It also contains corresponding SAS System information, such as the SAS variable names, formats, and informats. Typically, you have one access descriptor for each SYSTEM 2000 database, or you may have one access descriptor for each of several SYSTEM 2000 passwords.

An access descriptor describes one SYSTEM 2000 database. You cannot create a single access descriptor that references two SYSTEM 2000 databases.


View Descriptor Files

View descriptor files are sometimes called SAS data views, because their member type is VIEW. This book uses the term view descriptor to distinguish them from views created by the SQL procedure.

Each view descriptor can define all of the data or a particular subset of the data described by one access descriptor (and therefore one SYSTEM 2000 database). For example, you may want to use only three or four possible items and only some of the values stored in the items. The view descriptor allows you to do this by selecting the items you want to use and by specifying selection criteria to select only specific data you want. Your selection criteria might be that the date of transaction is July 3, 1987, and that customers' names begin with W. You typically have several view descriptors, selecting subsets of data for each access descriptor that you have created.

You can join SYSTEM 2000 databases with the SQL procedure. The SQL procedure can join SAS data files, PROC SQL views, and SAS/ACCESS view descriptors.


Chapter Contents

Previous

Next

Top of Page

Copyright 1999 by SAS Institute Inc., Cary, NC, USA. All rights reserved.